Цена действительна только для интернет-магазина и может отличаться от цен в розничных магазинах
текущее наличие дверей уточняйте, пожалуйста, у наших менеджеров.
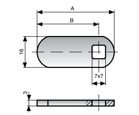
Прямой накидной ригель
Описание
Ригели изготовлены из оцинкованной стали.
Обратите внимание! Цены на разные артикулы могут незначительно отличаться от указанной.
Соответствие артикулов и размеров:
455608: A-26 мм B-18 мм
434815: A-30,5 мм B-22,5 мм
434869: A-33 мм B-25 мм
455322: A-35 мм B-27 мм
434609: A-38 мм B-30 мм
434794: A-40 мм B-32 мм
455556: A-45 мм B-37 мм
455548: A-48 мм B-40 мм
455494: A-53 мм B-45 мм
455797: A-58 мм B-50 мм
455606: A-68 мм B-60 мм
Обратите внимание! Цены на разные артикулы могут незначительно отличаться от указанной.
Соответствие артикулов и размеров:
455608: A-26 мм B-18 мм
434815: A-30,5 мм B-22,5 мм
434869: A-33 мм B-25 мм
455322: A-35 мм B-27 мм
434609: A-38 мм B-30 мм
434794: A-40 мм B-32 мм
455556: A-45 мм B-37 мм
455548: A-48 мм B-40 мм
455494: A-53 мм B-45 мм
455797: A-58 мм B-50 мм
455606: A-68 мм B-60 мм
Задать вопрос

