Цена действительна только для интернет-магазина и может отличаться от цен в розничных магазинах
текущее наличие дверей уточняйте, пожалуйста, у наших менеджеров.
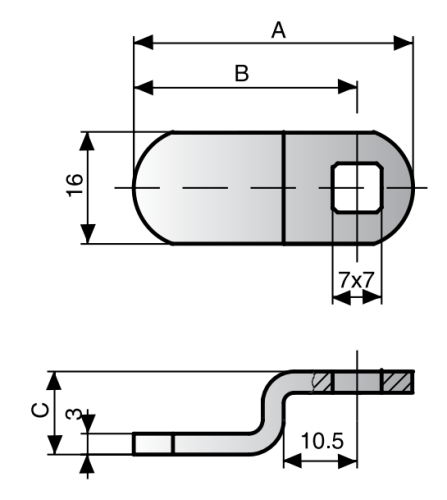
Изогнутый накидной ригель
Описание
Ригели изготовлены из оцинкованной стали.
Обратите внимание! Цены на разные артикулы могут незначительно отличаться от указанной.
Соответствие артикулов и размеров:
455678 A-32 мм B-24 мм С-13,5 мм
434959 A-33 мм B-25 мм С-26,5 мм
455333 A-35 мм B-27 мм С-5 мм
434928 A-35 мм B-27 мм С-6,5 мм
455499 A-35 мм B-27 мм С-9,5 мм
455525 A-35 мм B-27 мм С-10,5 мм
434816 A-36 мм B-28 мм С-12 мм
434799 A-36 мм B-28 мм С-22 мм
455557 A-37 мм B-29 мм С-18,5 мм
434766 A-38 мм B-30 мм С-15 мм
434667 A-38 мм B-30 мм С-7 мм
435097 A-40 мм B-32 мм С-5 мм
434702 A-40 мм B-32 мм С-19 мм
434635 A-45 мм B-37 мм С-5 мм
434700 A-45 мм B-37 мм С-8 мм
434852 A-45 мм B-37 мм С-13,3 мм
434757 A-48 мм B-40 мм С-19 мм
434788 A-50 мм B-42 мм С-12,5 мм
455461 A-61 мм B-53 мм С-18 мм
Обратите внимание! Цены на разные артикулы могут незначительно отличаться от указанной.
Соответствие артикулов и размеров:
455678 A-32 мм B-24 мм С-13,5 мм
434959 A-33 мм B-25 мм С-26,5 мм
455333 A-35 мм B-27 мм С-5 мм
434928 A-35 мм B-27 мм С-6,5 мм
455499 A-35 мм B-27 мм С-9,5 мм
455525 A-35 мм B-27 мм С-10,5 мм
434816 A-36 мм B-28 мм С-12 мм
434799 A-36 мм B-28 мм С-22 мм
455557 A-37 мм B-29 мм С-18,5 мм
434766 A-38 мм B-30 мм С-15 мм
434667 A-38 мм B-30 мм С-7 мм
435097 A-40 мм B-32 мм С-5 мм
434702 A-40 мм B-32 мм С-19 мм
434635 A-45 мм B-37 мм С-5 мм
434700 A-45 мм B-37 мм С-8 мм
434852 A-45 мм B-37 мм С-13,3 мм
434757 A-48 мм B-40 мм С-19 мм
434788 A-50 мм B-42 мм С-12,5 мм
455461 A-61 мм B-53 мм С-18 мм
Задать вопрос